Business Consultant
James Ma
James Ma is a technology leader with over 15 years in defensive coding, cybersecurity, and fintech. His career spans banking, payments, credit card processing, and startups, where he has led global teams to deliver secure, scalable platforms.
He was part of the core engineering teams that launched Fundsupermart, Shopee, and Trust Bank Singapore, building mission-critical systems in high-growth environments.
James is also the author of three books on AI/ML in finance and secure coding.
In his spare time, he mentors underrepresented talent in tech through the CodeDay Labs program.
Education:
- MSc. Finance, Stuart School of Business
- B.Eng Computer Engineering, Nanyang Technological University
- Dipl. Information Technology, Nanyang Polytechnic
Standards & Framework Expertise:
- Financial / Payments: ISO 20022, EMVCo – interbank and card transaction standards
- Cloud & DevOps: AWS Well-Architected, Terraform, Kubernetes, CIS Benchmarks
- Cybersecurity: OpenAPI, Secure coding, OWASP
Technical Expertise:
-
Programming Languages: Node.js, Golang, Python, C#, Java (Spring Boot)
-
Tools & Platforms: Git, Docker, Kubernetes, Terraform, AWS, CI/CD pipelines (Jenkins, GitHub Actions, GitLab CI), Gatling
-
Databases & Storage: PostgreSQL, MySQL, MongoDB, Redis
-
APIs & Integration: REST, GraphQL, Webhooks, gRPC
-
Other Skills: Cloud architecture, microservices, logging & monitoring (Prometheus, Grafana, ELK stack), containerization
Companies I’ve Worked With
Publications
Secure coding for Software Engineers
Mastering Python for Finance - 2nd Edition
Mastering Python for Finance - 1st Edition
Patents
Smart chip payment acceptance
US20230153807A1
Identity, Payment and Access Control System
US20220374896A1
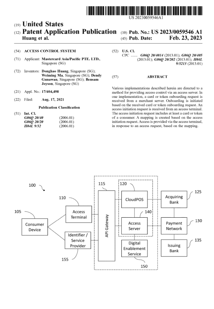
Access Control System
US20230059546A1
Connect with James
Complete the form below to inquire about booking a workshop, tutorial or speaking slot.





